

一、产品[隔膜阀]的详细资料:
产品型号:G49J
产品名称:三通隔膜阀
产品特点:G49W无衬里隔膜阀,G49J衬胶三通隔膜阀,三通隔膜阀设计与制造:GB122239 结构长度:GB12221、JB1688 法兰连接尺寸:GB4216、JB78
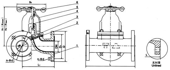
部件列表:1、阀体 2、隔膜 3、阀瓣 4、阀杆 5、阀盖 6、手轮
二、用途:
用途:本阀专用于控制非腐蚀性或一般腐蚀性介质,阀体内腔表面无衬里或覆有可供选择的各种橡胶,适用于不同工作温度和流体管路。
适用温度:≤85℃、≤100℃、 ≤120℃、≤150℃(按照衬里和隔膜材料)
压力等级:PN1.0
三、材料:
阀体:铸铁、球墨铸铁、碳钢、不锈钢
阀盖:铸铁、球墨铸铁、碳钢、不锈钢
衬里:无衬里、橡胶